
我們專業做異形模具和異形塑料件
開模不成功,退還全部開模費
全國咨詢熱線:
13932815220
13932815220





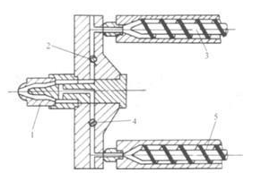
注塑生產中,所謂雙色注塑成型,是指將兩種不同色澤的塑料注入同一模具的成型方法。它能使塑件出現兩種不同的顏色,并能使塑件呈現有規則的圖案或無規則的云紋狀花色,以提高塑件的實用性和美觀性。 雙混色注塑成型 注塑加工廠家生產中,如下圖所示為雙混色注

優點1.大部分塑料制品的抗腐蝕能力強,不與酸、堿反應。2.塑料制造成本低。3.耐用、防水、質輕。4.容易被塑制成不同形狀。5.是良好的絕緣體。6.塑料可以用于制備燃料油和燃料氣,這樣可以降低原油消耗。缺點1.回收利用廢棄塑料時,分類十分困難,而且經濟上不合算。2.塑料容易燃燒,燃燒時產生有毒氣體。例如聚苯乙烯燃燒時

塑料洛氏硬度是表示材料硬度的一種度量方法。測定時將一規定的壓頭以較小的負荷壓在試樣上,然后逐漸增至某一較大值,再回復到較小負荷。 塑料洛氏硬度用如此造成的試樣上壓痕深度的凈增加數來表示的材料硬度 值、根據壓頭的尺寸、加至負荷值I`}i大小,對應規定了不同的 標尺。例如,有k標尺、L
HOTLINE
聯系人:史經理
HOTLINE
微信\電話:13932815220
ADDRESS
地址:河北省深州市大屯鎮孤城工業區